QJB1.5/8-400/3-740S
QJB------潜水搅拌机(推流器)的拼音缩写
400-----叶轮名义直径
740-------叶轮转速(rpm)
1.5------电机功率(KW)
配用功率范围:0.85-10KW
叶轮直径范围:260-615mm
叶轮转速范围:180-980r/min
推力范围:≤2900N
材质:铸铁/铸造全不锈钢 可根据客户要求定做

搅拌机在下列条件下应能正常连续运行:
1 最高介质温度不超过40°C;
2 介质的PH 值在5~9 间;
3 液体密度不超过1150kg/m3;
4 长期潜水运行,潜水深度一般不超过20m。
潜水搅拌机必需完全潜入水中工作;不能在易燃易爆或有强腐蚀性液体的环境中工作;钢膨胀螺栓须按要求固定,安装完毕后,必须将电缆拉紧固定好.潜水搅拌机选型的时候要确定池里水的密度和酸碱度,不能超过我们额定的参数以外,如超过了,就不能在这样的环境下使用,这样会导致电机超负荷,使电机烧毁电缆线也同样如此,电缆表面不能破损,如有破损应立即关闭电源更换电缆,不及时更换,水可以由破损电缆处流向电机内部,也会使电机烧毁。
潜水搅拌机是引进德国潜水电机密封技术研制成功的。
经过多年的实践摸索,因其在形式、结构和试验方法上的创新,使得潜水搅拌机总体性能达到了国外同类产品的水平,每生产一台设备,都会进行以下流程测试,对设备的性能,电流,转速,密封,外观等一系列检测测试。确保每台设备的稳定性和实用性都能达到应用的时效。

铸件式潜水搅拌机

QJB0.37/6-220/3-960 0.37 1.9 220 960 138 45 标准Ⅰ/II
QJB0.55/4-220/3-1400 0.55 1.8 220 1400 145 45 标准Ⅰ/II

QJB0.37-0.55 42 330 220 530 500 200
冲压式潜水搅拌机


低速推流器由潜水电机、减速装置、叶轮和安装系统等组成。其特点是配套功率小(1.5~7.5Kw),转速低(42~85r/min),叶桨直径大(1100~2500mm),低速旋转,产生大体积流场,服务范围广。后掠式香蕉型叶桨设计,具有自洁功能,采用聚氨酯或铝合金材质精铸成型,具有重量轻,强度高,耐腐蚀等优点,其优异的摩擦性能,可保证在低转速的运动状态下于液体产生良好的阻尼效果,从而创建出柔和的水流。该系列产品除了具有推流和创建水流的作用外还具搅拌功能。
聚氨酯叶轮内部铸铝
下图低速推流器叶轮是年限过久的叶轮,采用较老的工艺制作方式,叶轮安装、设备维修维护等都不方便,叶轮轴部容易断裂,坚固性能非常差,目前已经停产了,但是不排除个别厂家还在使用。

我公司针对考虑到客户的成本,不要换整机设备,只需要换低速推流器的轮毂就可以了,这样就可以用法兰式叶轮链接。
低速推流器搅拌机


专用安装系统可在无需排出池中污水的情况下,能快速安装和拆卸潜水搅拌机。
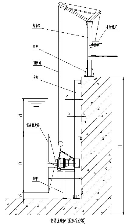
当池深H<4米时建议采用安装系统一。潜水搅拌机的潜水深度可以根据需要进行垂直方向的调节,而且在水平卖弄内可绕导杆旋转的最大角度为正负60°起吊系统底座、支撑架和下托架与池的有关连接面均采用膨胀螺栓固定,无需预留孔。安装系统二用导向钢绳替代导杆,具有运输方便,现场安装简单等特点。该系统从根本避免了由于运输引起导杆弯曲的、变形从而影响正常使用的情况,并有效改善了池深过深情况下,由于导杆的安装误差而导致的无法正常起吊等现象。在有悬臂池顶的安装条件下更显得操作方便可靠。
客户订货时,请提供池深H及池形图,以便厂房加工时确定导杆或导向钢丝的尺寸。安装系统的材质采用不锈钢(或碳钢)制造。安装系统中除导杆或导向钢起吊底座外,多台搅拌机可公用一套起吊装置。



◎导杆或导向钢丝应与水平垂直,可采用铅锤校正;
◎吊钩在起吊潜水搅拌机时,叶轮端较水平面应上仰5°-10°
◎通过起吊装置上的链条的调节,使得潜水搅拌机沿导杆或导向钢丝滑下过程中,起吊钩和潜水搅拌机的起吊重心处于同一垂直线上。
以下流速场是在清水中,边界水流速度为V=0.1m/s工况下




南京中德环保设备制造有限公司
地址:南京市六合区金牛湖街道新光社区双桥路115号
联系人:徐敏(经理)18913960189
传真:025-57530868
邮箱:njxm668@163.com
Q Q: 1215040622



